- 流量:85~5600m3/h
- 扬程:0~100.8m
- 价格:1.58-16.8万
- 温度:55℃ (高于55 ℃ 时请申明)
- 材质:HT200,Q235-A,45,2Cr13等
- 密封形式:填料密封
LC型高效节能立式长轴泵是在吸收了国内外立式长轴泵设计和制造先进经验,为适应国内市场需求研制的先进成熟的系列产品。该产品可以用来输送55℃以下的清水、雨水、氧化铁皮水、污水、具有腐蚀性的工业废水、海水等液体;经过特殊设计后可输送90℃的液体。广泛用于自来水公司、污水处理厂、电厂、钢铁厂、矿山等工矿企业,以及市政给排水、农田灌溉、防洪排涝等工程。

LC型立式长轴泵性能范围:
流量:85~5600m3/h;
扬程:10~100.8m。
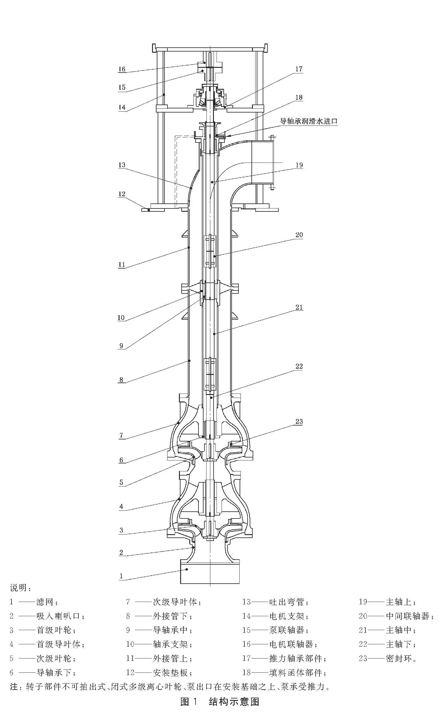
2、结构与特点:
LC型节能轴泵的吸入口垂直向下,出口水平,免抽真空启动,单基础安装,水泵和电机直联,基础占地面积小;从电机端俯视,水泵转子部件逆时针方向旋转,主要特点有:
1、用水力设计软件优化设计,性能优越,并充分考虑了叶轮、导叶体的抗磨蚀性能,使叶轮、导叶体等零件的寿命大大提高;产品运行平稳、安全可靠、高效节能。
2、LC型节能立式长轴泵进口装有滤网,开孔大小适当,既有效地防止大颗粒杂质进入泵内损坏水泵,同时又最大限度地减少了进口损失,提高了水泵效率。
3、LC型节能立式长轴泵的叶轮采用平衡孔平衡轴向力,叶轮前后盖板均设有可更换的密封环,保护叶轮及导叶体。
4、LC型节能立式长轴泵转子部件包含叶轮、叶轮轴、中间轴、上轴、联轴器、调整螺母等零件。
5、LC型节能立式长轴泵中间轴、扬水管和护管为多节,轴采用螺纹联轴器或者套筒联轴器联接;扬水管数量可根据用户需要增减,适应不同的液下深度。叶轮和导叶体可以为单级,也可以为多级,适应不同的扬程要求。
6、单根轴的长度合理,刚度足够。
7、LC型节能立式长轴泵扬水管采用法兰联接,相邻2节扬水管之间有导轴承体。导轴承体和导叶体上均装有导轴承,导轴承采用聚四氟乙烯或赛龙或丁腈橡胶材料。护管用于保护轴和导轴承,当输送清水时,可取消护管,
导轴承不必外接冷却润滑水;输送污水时,必须安装护管,导轴承必须外接冷却润滑水(水泵带自闭式密封系统,水泵停机后,自闭式密封系统可防止污水进入导轴承)。
8、LC型节能立式长轴泵的残余轴向力和转子部件的重量可由电机支座内的推力轴承承受或者带推力轴承的电机承受。推力轴承采用润滑脂润滑(又称干油润滑)或者润滑油润滑(又称稀油润滑)。
9、LC型节能立式长轴泵的轴封为填料密封,轴封及导轴承处装有可更换的轴套,以保护轴。叶轮的轴向位置由推力轴承部件上端或者泵联轴器内的调整螺母来调整,十分方便。
10、LC型节能立式长轴泵出口直径为φ100和φ150的立式长轴泵仅用于输送常温清水,不带护管,导轴承不需外接润滑水润滑;如用户需要φ100和φ150口径带护管的立式长轴泵,本公司可另外提供技术方案。
3、结构图

1、LC型立式长轴泵的性能参见性能参数表,表中所列参数为一个大气压下常温清水不含扬水管和滤网的试验性能;计算装置扬程时,扬水管和滤网的损失按每5m损失1m估算。
2、电机系按γ≤1100kg/M3配置。YLS系6kV电机,根据需要可配10kV电机。
3、订货时需注明水泵的型号、性能参数、液体种类(见“主要零件材质表” )、主要零件的材质、液下深度L、是否带护管等;输送污水时,还需提供污水颗粒的最大尺寸以及污水比重。
4、输送液体的温度大于55℃时须注明。